製品に関する大切なお知らせ
会員専用ページ
お問い合わせ
HOME
会社案内
製品情報
光陽産業のモノづくり
採用情報
カタログダウンロード
製品に関する大切なお知らせ
ログアウト
ログイン
HOME
>
製品一覧
>
機器接続ガス栓
>
機器接続ガス栓
> G331AP
フレキUIねじガス栓/都市ガス用
カタログダウンロード
承認図ダウンロード
取説ダウンロード
機器接続ガス栓
機器接続ガス栓
G331AP
フレキUIねじガス栓/都市ガス用
都市ガス
黄銅製
フレキ配管用
適用ガス機器
:
先止め式湯沸器 ビルトイン型調理機器
流量
:
下記仕様欄を参照してください。
ケース入数
:
下記仕様欄を参照してください。
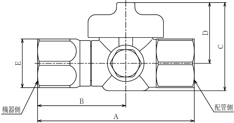
配管側
:
下記仕様欄を参照してください。
機器側
:
下記仕様欄を参照してください。
つまみ色・形状
:
ベージュ・耳付つまみ
検査孔
:
有
専用治具(別売)が必要です。
お問い合わせ
メールでのお問い合わせは下記ボタンよりお進みください。
お問い合わせフォームはこちらから
個人情報保護方針
サイトポリシー
サイトマップ
Copyright(C) 2026 koyosangyo. All rights reserved